2025年老哥论坛51一品茶楼,小红楼论坛资料大全最新版本更新内 ,老九品茶楼凤楼论坛官网51论坛一品楼,51风流平台现在叫什么名字51一品茶楼论坛

±ê×¼²úÆ··ÖÀà

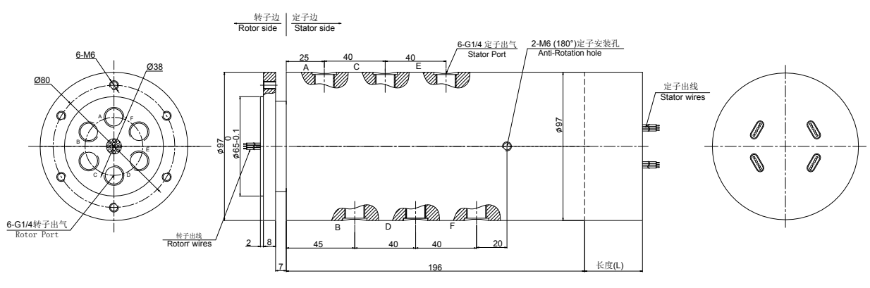
6Â·ÆøÒºÐýת½ÓÍ·
MAPH600ϵÁÐ (6½ø6³ö Æø/Òº+µçÒ»Ì廬»·)
  • ¡¤ MAPH600 6½ø6³öÐýת½ÓÍ·£¬6Â·ÆøÒºÐýת½ÓÍ·£¬ÆøÒºµç×éºÏ»¬»·£¬¿ÉͨM5¡¢G1/8¡¢G1/4¡¢G3/8¡¢G1/2´óС¹Ü¾¶
  • ¡¤ ÇÒ¿ÉÒÔ»ìºÏ¹¦Âʶ¯Á¦Ïß¡¢ÐźÅÏß¡¢ÒÔÌ«Íø¡¢USB¡¢¹¤Òµ×ÜÏß¡¢¿ØÖÆÏß¡¢µç´Å·§¡¢¸ÐÓ¦ÏßµÈ
  • ¡¤ ±ê׼Ϊ·¨À¼°²×°ÐÎʽ£¬6½ø6³öÐýת½ÓÍ·£¬6Â·ÆøÒºÐýת½ÓÍ·£¬ÆøÒºµç×éºÏ»¬»·¿É¶¨ÖÆ¿ÕÐÄÖá°²×°
  • ¡¤ ÄÜͨ¹ýµÄ½éÖÊÓÐ: ѹËõ¿ÕÆø¡¢ÇâÆø¡¢µªÆø¡¢»¯Ñ§»ìºÏÆøÌå¡¢ÕôÆû¡¢ÀäÈ´Ë®¡¢ÈÈË®¡¢ÈÈÓÍ¡¢Ê¯ÓÍ¡¢ÁòËá¡¢ÒûÁϵÈ

µäÐÍÓ¦Óãº

¹¤ÒµÉ豸¡¢¹¤ÒµÕ¹Ì¨¡¢µçÆø²âÊÔÉ豸¡¢Ò½ÁÆÉ豸¡¢»úÆ÷ÈË¡¢²âÊÔÒÇÆ÷¡¢×ªÌ¨¡¢×Ô¶¯»¯É豸µÈ£»

ÐͺŶ©¹ºËµÃ÷£º

²úÆ·µÈ¼¶Ñ¡Ðͱí
²úÆ·µÈ¼¶´úºÅ×î¸ßתËÙ¹¤×÷ÊÙÃüÃÜ·â¼þ
VC£¨Í¨Óü¶£©100RPM1000Íòת¹úÄÚÖªÃûÆ·ÅÆÃÜ·â¼þ
VD£¨¹¤Òµ¼¶£©300RPM3000Íòת½ø¿ÚÃÜ·â¼þ

¼¼Êõ¹æ¸ñ²ÎÊý
Ðýת½ÓÍ·²¿·Ö¼¼ÊõÖ¸±ê»úе¼¼ÊõÖ¸±ê
²ÎÊýÊýÖµ²ÎÊýÊýÖµ
ͨµÀÊý6½ø6³ö¹¤×÷ÊÙÃü²Î¿¼²úÆ·Ñ¡Ð͵ȼ¶
×î´óѹÁ¦10MPa (¿É¶¨ÖƸßѹ)£¬Õæ¿Õ 0.01torr¶î¶¨×ªËٲο¼²úÆ·Ñ¡Ð͵ȼ¶
Ť¾ØÓë½Ó¿Ú³ß´çÏà¹Ø£¬Ïêϸ×Éѯ¼¼Êõ¹¤×÷ζÈ-30¡æ~80¡æ
µçÆø¼¼ÊõÖ¸±ê¹¤×÷ʪ¶È0~85% RH
²ÎÊýÊýÖµ½Ó´¥²ÄÁϹó½ðÊô
¹¦ÂÊÐźſÇÌå²ÄÁÏÂÁºÏ½ð
¶î¶¨µçѹ0~440VAC/VDC0~440VAC/VDC·À»¤µÈ¼¶IP51
¾øÔµµç×è¡Ý1000M¦¸/500VDC¡Ý1000M¦¸/500VDC
µ¼Ïß¹æ¸ñAWG17#¶ÆÎýÌú·úÁúAWG22#¶ÆÎýÌú·úÁú
µ¼Ïß³¤¶È±ê×¼³¤¶È300mm£¨¿É¾ÝÒªÇóµ÷Õû£©
¾øÔµÇ¿¶È500VAC@50Hz£¬60s
¶¯Ì¬µç×è±ä»¯Öµ<0.01¦¸



MAPH600-XX ÆøÒºµçÒ»Ì廬»·Ñ¡Ðͱí
1£©XX=01,½ÓÍ·´óС=M5£¬ Æø¹Ü¹æ¸ñ3~6mm
2£©XX=02,½ÓÍ·´óС=G1/8£¬Æø¹Ü¹æ¸ñ3~10mm
3£©XX=03,½ÓÍ·´óС=G1/4£¬Æø¹Ü¹æ¸ñ3~12mm
ÐÍºÅÆø(Òº)ͨµÀ10AÐźÅ/5A³¤¶È L(mm)ÐÍºÅÆø(Òº)ͨµÀ10AÐźÅ/5A³¤¶È L(mm)
MAPH600-XX-S066½ø6³ö0638MAPH600-XX-P0810-S106½ø6³ö81071.6
MAPH600-XX-P0210-S046½ø6³ö2438MAPH600-XX-P1010-S086½ø6³ö10871.6
MAPH600-XX-P0410-S026½ø6³ö4238MAPH600-XX-P1210-S066½ø6³ö12671.6
MAPH600-XX-P06106½ø6³ö6038MAPH600-XX-P1410-S046½ø6³ö14471.6
MAPH600-XX-S126½ø6³ö12054.8MAPH600-XX-P1610-S026½ø6³ö16271.6
MAPH600-XX-P0210-S106½ø6³ö21054.8MAPH600-XX-S246½ø6³ö02488.4
MAPH600-XX-P0310-S096½ø6³ö3954.8MAPH600-XX-P0410-S206½ø6³ö42088.4
MAPH600-XX-P0610-S066½ø6³ö6654.8MAPH600-XX-P0610-S186½ø6³ö61888.4
MAPH600-XX-P0810-S046½ø6³ö8454.8MAPH600-XX-P1210-S126½ø6³ö121288.4
MAPH600-XX-P1010-S026½ø6³ö10254.8MAPH600-XX-S306½ø6³ö030105.2
MAPH600-XX-P12106½ø6³ö12054.8MAPH600-XX-P0610-S246½ø6³ö624105.2
MAPH600-XX-S186½ø6³ö01871.6MAPH600-XX-S366½ø6³ö036125
MAPH600-XX-P0210-S166½ø6³ö21671.6MAPH600-XX-S426½ø6³ö042141.8
MAPH600-XX-P0410-S146½ø6³ö41471.6MAPH600-XX-S486½ø6³ö048158.6
MAPH600-XX-P0610-S126½ø6³ö61271.6

×¢£º10AºÍÐźÅ(5A) ¿ÉÒÔÈÎÒâ×éºÏ£¬×î´ó¿Éµ½96·£¬ÏêϸÇë×Éѯ¿Í·þ¡£6½ø6³öÐýת½ÓÍ·£¬6Â·ÆøÒºÐýת½ÓÍ·£¬ÆøÒºµç×éºÏ»¬»·¿ÉÔÚ±ê×¼²úÆ·ÉϽøÐÐ·Ç±ê¶¨ÖÆ£¬Çë×Éѯ¿Í·þ¡£

MAPH600-01 ³ß´çͼ


MAPH600-02 ³ß´çͼ


MAPH600-03 ³ß´çͼ


ͬϵÁиü¶à²úÆ·²Î¿¼£º
»ñÈ¡²úÆ·3Dͼֽ
X

¾­¹ý¶àÄêµÄ¾­Ñé»ýÀÛ£¬Ä¬æÚÁúÓµÓÐ20Íò¶à¸ö²úÆ·3DͼµµÊý¾Ý¿â£¬
ÓÉÓÚ»¥ÁªÍøµÄ¿ª·ÅÐÔºÍͬÐоºÕù£¬ÐèÒª²úÆ·3DͼµµµÄ¿Í»§ÇëÁôϵç×ÓÓÊÏä»òÕßQQ¡£

ÉóºËÍêÁªÏµ·½Ê½ºó£¬ÎÒÃǵÄϵͳ½«ÔÚ5·ÖÖÓÄÚ°Ñ3D×Ô¶¯·¢¶¯µ½ÄúµÄµç×ÓÓÊÏ䣡