2025年老哥论坛51一品茶楼,小红楼论坛资料大全最新版本更新内 ,老九品茶楼凤楼论坛官网51论坛一品楼,51风流平台现在叫什么名字51一品茶楼论坛

·ÖÌåʽ»¬»·°²×°·½Ê½

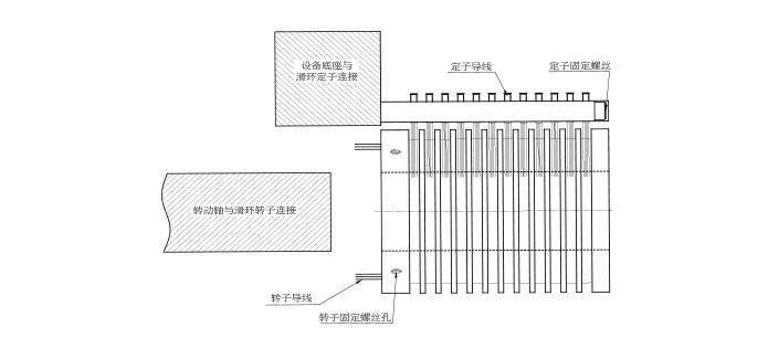
    ·ÖÀëµÄת×ӺͽӴ¥Ë¢×éºÏµÄ»¬»·½Ð·ÖÌåʽ»¬»·£¬ ¿ÉÒÔ½â¾ö¶Ô°²×°³ß´çÏÞÖÆµÄÎÊÌâ¡£



    °²×°Ê¾Òâͼ£¨2D£©£º
    °²×°Ê¾Òâͼ£¨3D£©£º
    °²×°Ö¸Òý£º

    ÓÉÓÚ·ÖÌåʽ»¬»·ÊÇת×ӺͶ¨×Ó·ÖÀëµÄ»¬»·£¬¶ÀÁ¢°²×°£¬Òò´ËÔÚ°²×°µÄʱºòÌØ±ðҪעÒâ°²×°µÄÏà¶ÔλÖ㬱£Ö¤´¥µãºÍ»·µÀÓÐ×㹻ѹÁ¦¡£


    ×¢ÒâÊÂÏ

    1£©×ª×Ó²¿·ÖºÍ¶¨×Ó²¿·Ö¶ÀÁ¢°²×°£¬µ«ÊÇÒ»¶¨Òª±£Ö¤Í¬ÐĶȺÍת×ӺͶ¨×ÓµÄλÖ㬱£Ö¤×ã¹»µÄ´¥µãѹÁ¦¡£
    2£©ÔÚ»¬»·°²×°Ê±£¬Îñ±ØÒª±£»¤ºÃµ¼Ïߣ¬±ÜÃâÒòµ¼Ïß¾øÔµ²ãË𻵶øÓ°Ïìµ½²úÆ·Æ·ÖÊ¡£
    3£©»¬»·ÊǾ«ÃÜµçÆøÔª¼þ£¬Ó¦¸ÃÔÚÒ»¸ö¸ÉÔÉÙ³¾µÄ»·¾³Ï¹¤×÷£¬Èç¹û»·¾³¶ñÁÓ£¬Ó¦Ôö¼Ó·À»¤´ëÊ©¡£
    4£©È·¶¨¹Ì¶¨²¿·ÖµÄÂÝĸ²»Ëɶ¯¡£ 5£©¶¨×ÓÏßÔ¶Àëת¶¯Öᣬת×ÓÏßÔ¶Àë¹Ì¶¨²¿·Ö£¬ÒÔÃâÔÚÐýתÖйÎÉ˵¼Ïß¡£